Texas Instruments TXS0104V/TXS0104V-Q1 4-Bit Voltage Translators

Texas Instruments TXS0104V/TXS0104V-Q1 4-Bit Level Shifting Voltage Translators are non-inverting translators that use two separate configurable power-supply rails. The A port is designed to track VCCA, which accepts any supply voltage from 1.65V to 3.6V and must be less than or equal to VCCB. The B port is designed to track VCCB, which accepts any supply voltage from 2.3V to 5.5V. This feature allows for low-voltage bidirectional translation between 1.8V, 2.5V, 3.3V, and 5V voltage nodes.

When the output-enable (OE) input is low, all outputs are placed in the high-impedance state. The TXS0104V/TXS0104V-Q1 is designed so that the OE input circuit is supplied by VCCA. For the high-impedance state during power up or power down, tie OE to GND through a pull-down resistor; the driver's current-sourcing capability determines the minimum value of the resistor. The TXS0104V-Q1 devices are AEC-Q100 qualified for automotive applications.

Features

  • No direction-control signal needed
  • Maximum data rates
    • 24Mbps (push-pull)
    • 2Mbps (open-drain)
  • 1.65V to 3.6V on A port and 2.3V to 5.5V on B port (VCCA ≤ VCCB)
  • No power-supply sequencing is required (either VCCA or VCCB can be ramped first)
  • Latch-up performance exceeds 100mA per JESD 78, class II
  • ESD protection exceeds JESD 22
    • A port
      • 2000V human-body model (A114-B)
      • 500V charged-device model (C101)
    • B port
      • 5000V human-body model (A114-B)
      • 500V charged-device model (C101)

Applications

  • Handset
  • Smartphone
  • Tablet
  • Desktop PC

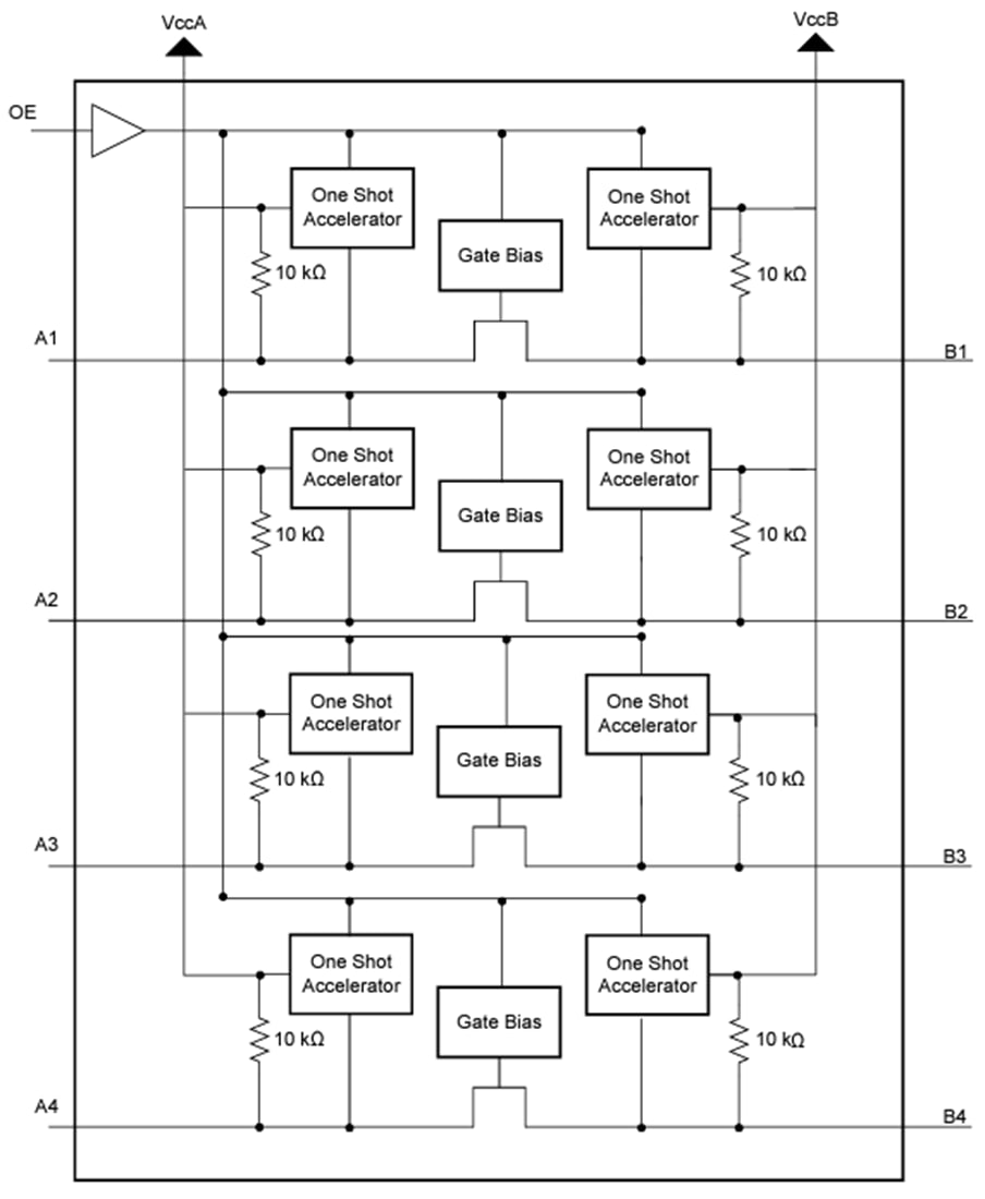
Functional Block Diagram

Block Diagram - Texas Instruments TXS0104V/TXS0104V-Q1 4-Bit Voltage Translators
Published: 2024-11-07 | Updated: 2025-05-09