Texas Instruments TPS63070 Wide Input Voltage Buck-Boost Converters
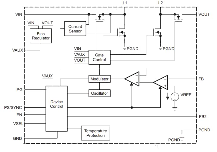
Texas Instruments TPS63070 Wide Input Voltage Buck-Boost Converters are high efficiency, low quiescent current buck-boost converters. These modules are suitable for applications where the input voltage can be higher or lower than the output voltage. Output currents can go as high as 2A in boost mode and in buck mode. The buck-boost converters are based on a fixed frequency, pulse-width-modulation (PWM) controller using synchronous rectification to obtain maximum efficiency. At low load currents, the converters enter power-save mode to maintain high efficiency over a wide load current range. The converters can be disabled to minimize battery drain. During shutdown, the load is disconnected from the battery. Texas Instruments TPS63070 Wide Input Voltage Buck-Boost Converters are available in a 2.5mm×3mm QFN package.Features
- 2.0V to 16V input voltage range
- 2.5V to 9V output voltage range
- Up to 95% efficiency
- ± 1% DC accuracy in PWM mode
- +3% / –1% DC accuracy in PFM mode
- 2A output current in buck mode
- 2A output current in boost mode (VIN = 4V; VOUT = 5V)
- Automatic transition between step-down and boost mode
- Forced fixed frequency operation at 2.4MHz and synchronization option
- 50µA typical device quiescent current
- Fixed and adjustable output voltage options
- Precise ENABLE input allows
- User-defined undervoltage lockout
- Exact sequencing
- Power-save mode for improved efficiency at low output power
- Power good output
- VSEL allows output voltage change
- Load disconnect during shutdown
- Overtemperature protection
- Input / output overvoltage protection
- QFN package
Applications
- Dual Li-ion batteries
- Industrial metering equipment
- DSCs and camcorders
- Notebook computers
- Ultra-mobile PCs and mobile internet devices
- Personal medical products
Published: 2016-09-07
| Updated: 2023-08-07
