Texas Instruments TLV766-Q1 500mA Low Dropout Linear Regulators
Texas Instruments TLV766-Q1 500mA Low Dropout (LDO) Linear Regulators are a wide input linear voltage regulator that supports an input voltage range from 2.5V to 16V and up to 500mA of load current. The output range is from 0.8V to 12V or up to 14.6V with the adjustable version. The wide input voltage range makes the device a good choice for operating from transformer secondary windings and regulated rails such as 10V or 12V. Additionally, the wide output voltage range allows the device to generate the bias voltage for silicon carbide (SiC) gate drivers and microphones, as well as power microcontrollers (MCUs) and processors.The Texas Instruments TLV766-Q1 has a 1% output accuracy that is required for powering digital loads with tight supply requirements. The internal soft-start circuit reduces inrush current during startup, thus allowing for smaller input capacitance. Wide-bandwidth PSRR performance is greater than 70dB at 1kHz and 46dB at 1MHz. This performance helps attenuate the switching frequency of an upstream DC/DC converter and minimizes post regulator filtering. The high ripple rejection from 20Hz to 20kHz makes the device a good choice for powering audio components. The TLV766-Q1 is available in an 8-pin, 3mm × 3mm VSON (DRB) package with wettable flanks and low thermal resistance.
Features
- AEC-Q100 qualified for automotive applications
- –40°C to +125°C, TA temperature grade 1
- –40°C to +150°C, TJ junction temperature
- 2.5V to 16V (18V max) input voltage range
- 1% output accuracy overload and temperature
- Low quiescent current (IQ)
- 50µA (typ) with no load
- 4µA (max) when disabled
- 70dB at 1kHz, 46dB at 1MHz high PSRR
- Output voltage range
- 0.8V to 14.6V (adjustable)
- 1.2V to 12V (fixed)
- 500µs (typical) internal soft-start time
- Fold-back current limiting and thermal protection
- Stable with a 1µF or larger capacitor
- 8-pin, 3mm × 3mm WSON with wettable flanks package
- 51.9°C/W low thermal resistance (RθJA)
Applications
- DC/DC converters
- Inverter and motor controls
- Onboard (OBC) and wireless chargers
- Automotive head units
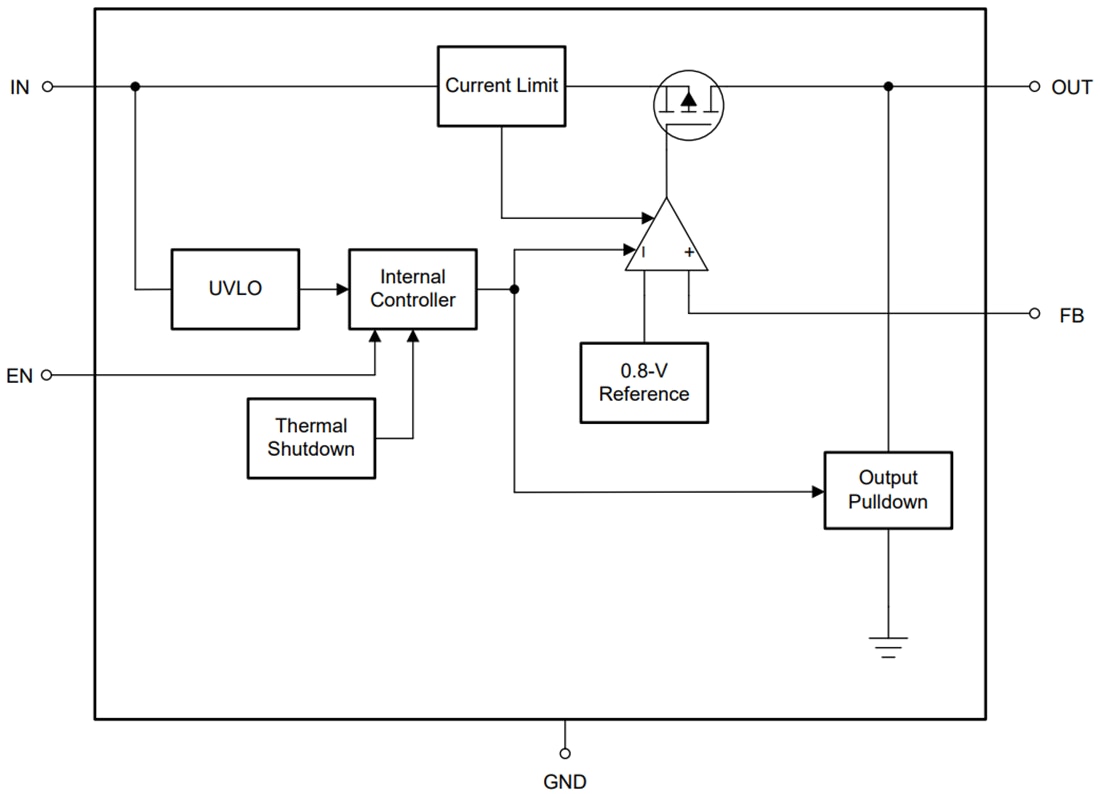
Functional Block Diagram
Published: 2021-02-12
| Updated: 2025-08-26
