Texas Instruments TAS3251 Ultra-HD Digital-Input Class-D Amplifiers
Texas Instruments TAS3251 Ultra-HD Digital-Input Class-D Amplifiers are designed for high performance enabling true premium sound quality with Class-D efficiency. The high-power single-chip solution reduces overall system solution size and cost. The TAS3251 operates in AD mode and offers a possible drive up to 2 x 175W into a 4Ω load and 2 x 220W into a 3Ω load. A high-performance Burr-Brown™ DAC with integrated DSP is featured on the digital front end, making the device ideal for advanced audio processing, including SmartAmp and SmartEQ. Quick and easy speaker tuning and control by the DSP is supported by TI PurePath™ Console Graphical tuning software. The Class-D power stage features advanced integrated feedback and proprietary high-speed gate drive error correction. This feature allows for ultra-low distortion and noise across the audio band.Features
- Flexible audio inputs
- I2S, TDM, Left-justified, right-justified
- 32kHz, 44.1kHz, 48kHz, 96kHz
- Supports 3-wire digital input (No MCLK)
- Total Output Power at 10% THD+N
- 175W Stereo into 4Ω in BTL configuration
- 220W Stereo into 3Ω in BTL configuration
- 350W Mono into 2Ω in PBTL configuration
- Total output power at 1% THD+N
- 140W Stereo into 4Ω in BTL configuration
- 175W Stereo into 3Ω in BTL configuration
- 285W Mono into 2Ω in PBTL configuration
- Advanced integrated closed-loop design
- Ultra Low 0.01% THD+N at 1W into 4Ω
- <0.01% THD+N to Clipping
- 60dB PSRR (BTL, No Input Signal)
- <95µV Output noise (A-Weighted)
- >108dB SNR (A-Weighted)
- Fixed-function processing features
- SmartEQ (15x BiQuads)
- Crossover EQ (2x5 BiQuads)
- 3-Band advanced DRC + AGL
- Dynamic EQ and SmartBass
- Sample rate conversion
- Control features
- I2C Software mode control
- Address select pin
- 90% Efficient class-D operation (4Ω)
- Wide 12V to 36V supply voltage operation
- Integrated protection with error reporting: undervoltage, cycle-by-cycle current limit, short circuit, clipping detection, overtemperature warning and shutdown, and DC
- Speaker protection
Applications
- BLUETOOTH® and Wi-Fi® speakers
- Soundbars
- Subwoofers
- Bookshelf stereo systems
- Professional and Public Address (PA) speakers
- Active crossover and two-way speakers
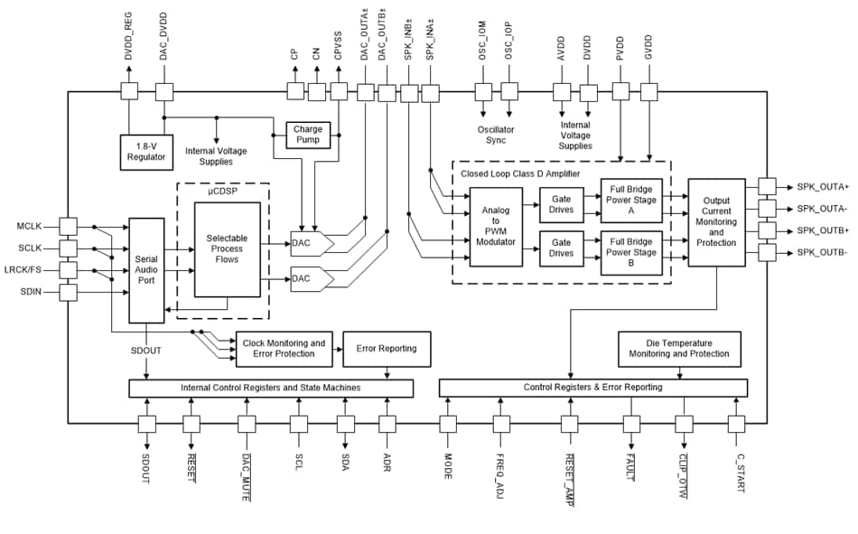
Block Diagram
Published: 2018-08-03
| Updated: 2023-02-03
