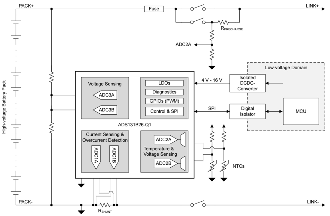
Texas Instruments ADS131B26-Q1 Battery Pack Monitor
Texas Instruments ADS131B26-Q1 Battery Pack Monitor is a high voltage, fully integrated battery pack monitor for automotive electrical vehicle (EV) battery management systems (BMS). The ADS131B26-Q1 integrates two simultaneous sampling, high-precision, 24-bit analog-to-digital converter (ADC) channels (ADC1A, ADC1B) to measure battery current redundantly. This process is done with accuracy and high resolution using an external shunt resistor. Two independent digital comparators enable fast overcurrent detection in parallel with the two ADCs. Another set of two simultaneous-sampling, 24-bit ADCs (ADC3A, ADC3B) are integrated to measure battery pack voltage using external high-voltage resistor dividers synchronously to the battery current for accurate battery state-of-charge and state-of-health calculations.Additionally, using external high-voltage resistor dividers, two multiplexed, 16-bit ADC channels (ADC2A, ADC2B) are available to measure shunt temperature and other voltages in the system, including battery-pack voltage. The shunt temperature is measured using an external temperature sensor, such as an analog output temperature sensor or a thermistor. Each ADC has a channel sequencer that automatically steps through the configured multiplexer inputs. This process is done to reduce communication on the SPI.
The device integrates many diagnostic and monitoring features to detect and mitigate random hardware faults to aid in developing a functionally safe BMS. The internal linear regulators, with input ranges up to 16V, support powering the device with unregulated DC/DC converters. The Texas Instruments ADS131B26-Q1 is specified over an automotive temperature range of –40°C to +105°C and comes in a 48-pin HTQFP package.
Features
- AEC-Q100 qualified for automotive applications
- Temperature grade 1 (–40°C to +125°C, TA)
- Functional Safety-Compliant
- Developed for functional safety applications
- Documentation available to aid ISO 26262 functional safety system design up to ASIL D
- Systematic capability up to ASIL D
- Hardware capability up to ASIL D
- Two simultaneous-sampling, 24-bit ADCs (ADC1A, ADC1B) for current-shunt measurements:
- Programmable full-scale range
- ±39mV to ±312.5mV
- Supports a wide range of shunt resistor values and current-measurement ranges
- Achieve high-accuracy current-shunt measurements with
- ±1.5µV (max) offset error
- 20ppm/°C (max) gain drift
- Programmable data rate: 500SPS to 64kSPS
- Digital overcurrent comparator per ADC with programmable thresholds for fast overcurrent detection
- Programmable full-scale range
- Two simultaneous-sampling, 24-bit ADCs (ADC3A, ADC3B) for voltage measurements:
- 500SPS to 64kSPS programmable data rate
- ±312.5mV to ±1.25V programmable full-scale range
- Two multiplexed, 16-bit ADCs (ADC2A, ADC2B) for voltage and temperature measurements:
- Eight analog inputs per ADC
- ±312.5mV to ±1.25V programmable full-scale range
- Channel sequencer
- Monitoring and diagnostic features to mitigate and detect random hardware faults
- 2.9V to 16V supply-voltage range
- SPI-compatible interface
- Nine GPIOs with PWM capability
Applications
- Automotive battery management systems (BMS)
- Current-shunt measurements
- Voltage measurements using external resistor dividers
- Temperature measurements using thermistors or analog output temperature sensors
Monitor System Block Diagram
