Teledyne FLIR Lepton Camera Breakout Board v2.0
Teledyne FLIR Lepton Camera Breakout Board v2.0 quickly connects all versions of the Teledyne FLIR Lepton camera module to common platforms like Raspberry Pi or custom hardware. This easy-to-interface evaluation board provides onboard power supplies, generated from 3V to 5.5V, and a master clock. By using a jumper, the master clock, local power supplies, and power-up sequence components can be bypassed. Teledyne FLIR Lepton Camera Breakout Board is designed for applications where SWaP, cost, and quality are critical.Features
- Space-saving
- Works with all Teledyne FLIR Lepton modules
- Access to SPI and I2C camera module interfaces
- Dual low-noise LDO
- Designed for quick prototyping and development, not for production use
Applications
- Rugged and mobile devices
- Smart buildings and smart cities
- Motion sensors
- Gesture recognition
Specifications
- 3V to 5.5V input voltage
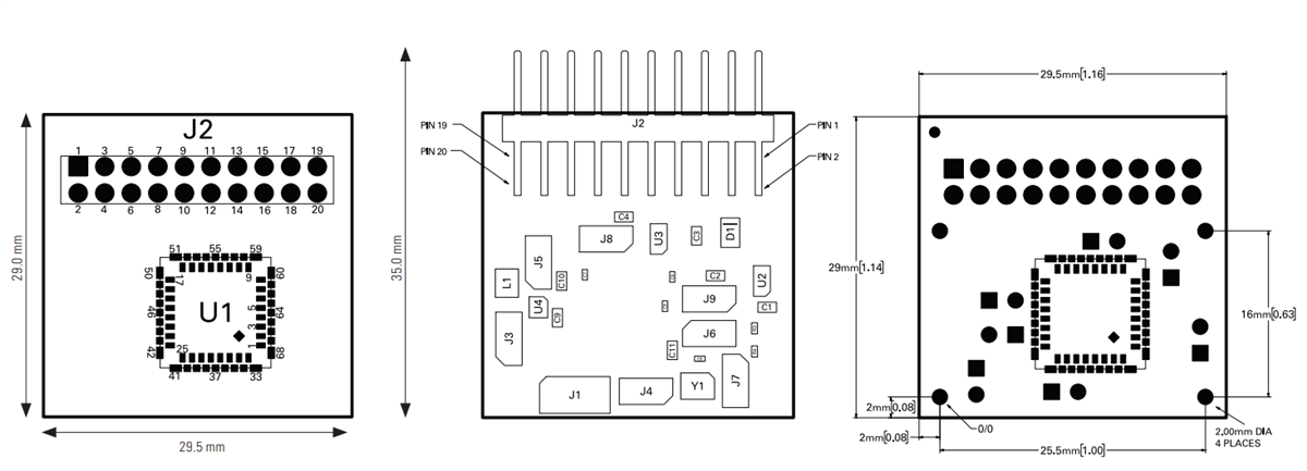
- 29.5mm x 29mm dimensions
- 25MHz reference clock
- Up to +55°C maximum operating temperature
Mounting Hole Locations
Published: 2021-04-19
| Updated: 2022-03-11
