Renesas Electronics RAA489204 Li-ion Battery Manager IC
Renesas Electronics RAA489204 Industrial Grade Li-ion Battery Manager IC supervises up to 14 series-connected cells and is optimized to meet stringent Industrial performance, reliability, and safety requirements. The device provides all the functions expected of such a critical component in a battery management system, such as accurate cell voltage and temperature monitoring, cell balancing, and extensive system diagnostics.In a typical configuration, a Master RAA489204 communicates to a host microcontroller through an SPI port and up to 29 additional RAA489204 devices connected by a robust, proprietary, two-wire Daisy Chain. This communication system is highly flexible and can be implemented with capacitor isolation, transformer isolation, or a combination of both.
Three cell balancing modes are included (Manual Balance mode, Timed Balance mode, and Auto Balance mode). Auto Balance mode terminates balancing after a host-specified amount of charge has been removed from every cell. The Renesas Electronics RAA489204 is packaged in a 64 pin TQFP and is specified for operation from -40ºC to +85ºC.
Features
- Monitors and manages up to 14 cells; all standard Li-Ion cell chemistries
- Robust two-wire Daisy Chain communications system using a capacitor or transformer coupling at up to 1Mbps
- High-security communications protocol
- Cell voltage measurement accuracy +/-10mV
- Up to six external temperature monitoring inputs
- Internal temperature monitoring with a warning flag
- Two general-purpose I/O pins
- Automatic sensing of position in a battery stack
- Measures and performs read-back on all voltages, temperatures, and diagnostics for 112 cells in less than 10ms
- User-selectable cell measurement averaging function
- 14-bit voltage and temperature measurements
- Integrated system diagnostics for all key functions
- Watchdog shuts down device if communication is lost
- Fully tolerant to EMC and transients
Applications
- Electric mobility battery packs
- Portable and semi-portable equipment
- Backup battery and energy storage systems requiring high accuracy management and monitoring
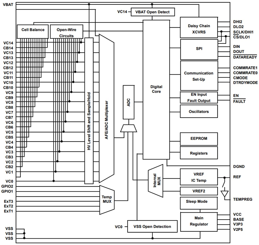
Block Diagram
Published: 2021-11-09
| Updated: 2022-03-11
