onsemi NCx57252 Gate Drivers

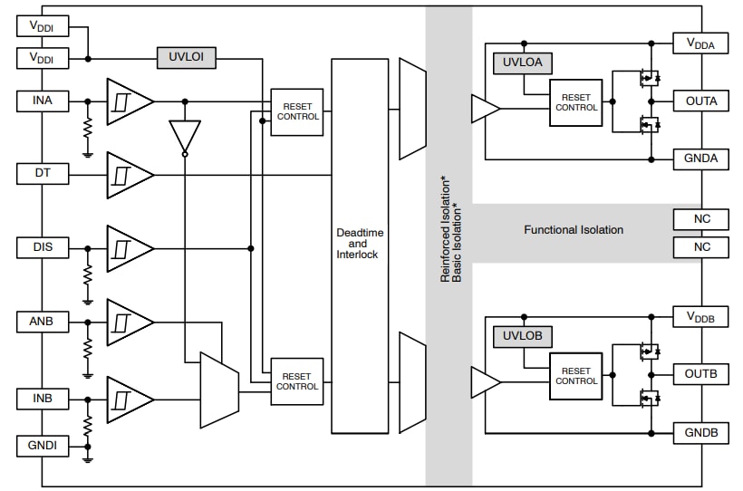
onsemi NCx57252 Gate Drivers are high-current dual-channel isolated IGBT/MOSFET gate drivers with 2.5kVrms or 5kVrms internal galvanic isolation from input to each output. These drivers accept 3.3V to 20V bias voltage and signal levels on the input side and up to 32V bias voltage on the output side. The NCD(V)57252 gate drivers show consistent performance and can be configured as dual low-side or dual high-side or high-bridge drivers. These gate drivers accept complementary inputs and offer separate pins for disabling and dead time control for system design convenience. The NCx57252 drivers support fast switching action and are available in wide-body SOIC-16 and narrow-body SOIC-16 packages. These drivers are ideally used in automotive, industrial, Electric Vehicle (EV) chargers, motor control, Uninterruptible Power Supplies (UPS), and solar inverters.

Features

  • High peak output current (±6.5A, ±3.5A)
  • Configurable as a dual low-side or dual high-side or half-bridge driver
  • Programmable overlap or dead time control
  • Disable pin to turn off outputs for power sequencing
  • ANB function to offer flexibility to set up the driver as a half-bridge driver operating with a single input signal
  • IGBT/MOSFET gate clamping during short circuit
  • Short propagation delays with accurate matching
  • Tight UVLO thresholds on all power supplies
  • 3.3V, 5V, and 15V logic input
  • 2.5kVrms or 5kVrms galvanic isolation from input to each output and 1.5kVrms differential voltage between output channels
  • 1200V working voltage (per VDE0884-11 requirements)
  • High common-mode transient immunity
  • NCV prefix for automotive and other applications requiring unique site and control change requirements
  • AEC-Q100 Qualified and PPAP capable
  • Pb-free, Halogen-free/BFR free, and is RoHS compliant

Applications

  • Automotive
  • Industrial
  • Electric Vehicle (EV) chargers
  • Uninterruptible Power Supplies (UPS)
  • Industrial power supplies
  • Motor control
  • Solar inverters

Block Diagram

Block Diagram - onsemi NCx57252 Gate Drivers

Typical Application Circuits

Published: 2021-05-27 | Updated: 2024-03-15