onsemi FL7733A Primary-Side-Regulated LED Driver
onsemi FL7733A Primary-Side-Regulated LED Driver is a highly-integrated PWM controller with advanced Primary-Side Regulation (PSR) technique to minimize components in low-to-mid-power LED lighting converters. Using an innovative TRUECURRENT® technology to provide tight tolerance constant-current output, this LED driver enables designs with constant current (CC) tolerance of less than ±1% over the universal line voltage range to meet stringent LED brightness requirements. By minimizing turn-on time fluctuation, high power factor and low THD over the universal line range are obtained in the FL7733A. An integrated high-voltage startup circuit implements fast startup and high system efficiency. During startup, adaptive feedback loop control anticipates the steady-state condition and sets initial feedback condition close to the steady state to ensure no overshoot or undershoot of LED current. The onsemi FL7733A also provides powerful protections, such as LED short / open, output diode short, sensing resistor short / open, and over-temperature for high system reliability.Features
- ±3% total constant current tolerance over all conditions
- ±1% over universal line voltage variation ±1% from 50% to 100% load voltage variation
- ±1% with ±20% magnetizing inductance variation
- Primary-Side Regulation (PSR) control
- 80VAC to 308VAC application input voltage range
- High PF of 0.9, and low THD of 10% over universal line input range
- Fast 200ms start-up (at 85VAC) using internal high-voltage start-up with VDD regulation
- Adaptive feedback loop control for startup without overshoot
- Protection
- LED short / open protection
- Output diode short protection
- Sensing resistor short / open protection
- VDD Over-Voltage Protection (OVP)
- VDD Under-Voltage Lockout (UVLO)
- Over-Temperature Protection (OTP)
- All Protections are Auto Restart (AR)
- Cycle-by-cycle current limit
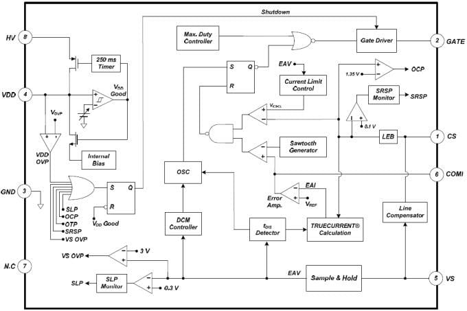
Block Diagram
Application Diagram
Published: 2014-10-29
| Updated: 2022-03-11
