Microchip Technology PIC32MZ Embedded Connectivity w/FPU Starter Kits

Microchip Technology PIC32MZ Embedded Connectivity Starter Kits come with a Floating Point Unit (FPU) and include the DM320007 for non-Crypto development or DM320007-C for Crypto development. These low-cost kits develop and test USB and Ethernet-based applications with PIC32MZ EF family devices.

These kits are compatible with Ethernet PHY daughter boards; LAN8720A PHY Daughter Board (AC320004-3) and LAN9303 PHY Switch Daughter Board (AC320004-4).

Features

  • Two Mini-B USB ports, one for debugging and one for USB-to-UART or I2C communications
  • Standard-A USB port for the embedded host
  • Micro-AB USB Host/Device/OTG port
  • The PHY daughter board features an RJ-45 Ethernet port for network connectivity

Kit Contents

  • One development board
  • One LAN8740A Ethernet PHY Daughter Board
  • Two USB mini-B to full-sized A cables (one cable for debugging purposes and to power the development board and one cable for USB-to-UART communication)
  • One USB micro-B to full-sized A cable (to communicate with the PIC32 USB port)
  • One RJ-45 CAT5 Ethernet cable (to communicate with the PIC32 Ethernet port)

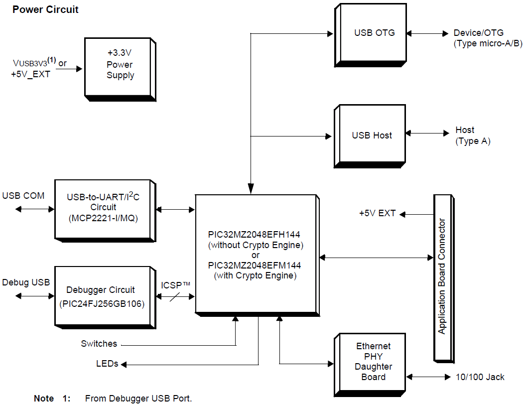
Block Diagram

Block Diagram - Microchip Technology PIC32MZ Embedded Connectivity w/FPU Starter Kits
Published: 2016-03-07 | Updated: 2022-03-11