Microchip Technology MCP1722 High Voltage LDOs
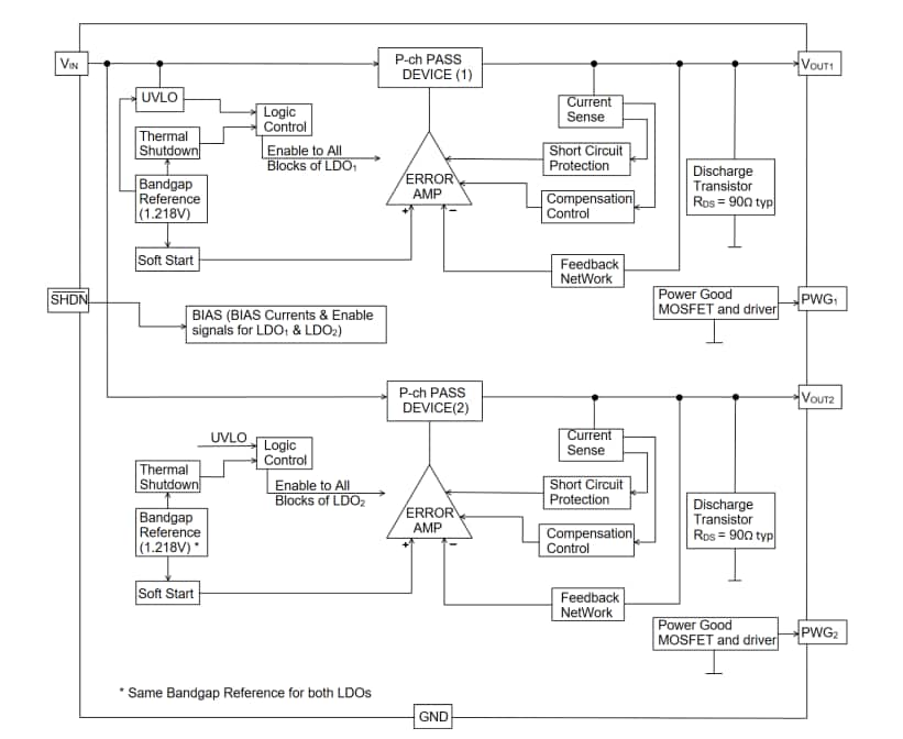
Microchip Technology MCP1722 High Voltage LDOs are dual output, high voltage, low dropout (LDO) regulators designed to supply a µProcessor with either 3.3V or 5.0V. The MCP1722 features a current capability of 100mA while also offering 10V or 12V to a motor driver with a current capacity of 50mA. These specifications allow the MCP1722 LDOs to be ideal for handheld power tools with 20V battery packs.The Microchip MCP1722 High Voltage LDOs include Power Good indicators (two pins, PWG1 and PWG2) for both outputs and shutdown functionality (a single SHDN pin) that places the part in a low current consumption state of 4µA. The LDOs are housed in two 8-lead VDFN or SOIC packages with exposed pads for improved thermal dissipation. In operation, the MCP1722 is fully protected by thermal shutdown protection and current foldback limiting.
Features
- AEC-Q100, Grade 0 Qualified, PPAP capable
- 4.5V to 55V Input voltage range
- Undervoltage Lock Out (UVLO) 2.7V typical
- 65V Load dump protected (ISO 7637-2/2004)
- -40°C to +150°C Extended junction temperature range
- Standard output Regulated Voltages (VR):
- VOUT1: 10V or 12V
- VOUT2: 3.3V or 5.0V
- Tolerance +/-2% for each LDO output
- Output Current Capability Typical:
- VOUT1: 50mA
- VOUT2: 100mA
- Open-drain power good pins for both LDO outputs
- 50µA Low quiescent supply current
- 4µA Low shutdown quiescent supply current
- 3.3µF Stable with a ceramic output capacitor
- Short circuit current foldback protection
- 178°C Typical thermal shutdown protection
- High PSRR:
- -80dB @ 100Hz typical
- Available in the following packages:
- VDFN 8-Lead 3mm x 3mm body with 2.40mm x 1.60mm exposed pad
- SOIC 8-Lead 3.90mm body with 2.2mm x 3.0mm exposed pad
Applications
- Battery-powered tools
- Handheld vacuum
- Startup bias for PWM controllers
Typical Application
Package Types
Block Diagram
Published: 2021-09-13
| Updated: 2023-03-02
