Microchip Technology BM70 Bluetooth® PICtail™/PICtail Plus Board

Microchip Technology BM70 BLUETOOTH® PICtail™/PICtail Plus Board is designed to evaluate and demonstrate the capabilities of the BM70 BLE module. This Microchip BLUETOOTH® board includes an integrated configuration and programming interface for plug-and-play capability. The BM70 BLUETOOTH® board also provides an integrated test environment for all functions supported in the BM70 BLE module. This BLUETOOTH® board includes the BM70BLES1FC2 module and the BM70BLES1FC2 carrier board.

Features

  • Bluetooth® 4.2 compliant BM70 module with an onboard antenna and 2dBm output power
  • Develops immediately using a USB interface and a Windows®-based configuration tool
  • USB indication, module status, and user-configurable LEDs
  • PICtail interface for connection to popular microcontroller development platforms such as Explorer16
  • Coin cell battery, USB, or PICtail power options
  • Access to all BM70 module pins

Kit Contents

  • BM70 EVB that contains BM70BLES1FC2 module
  • micro-USB cable

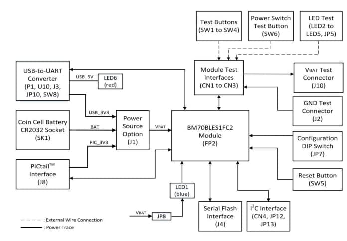
BM70 PICtail/PICtail Plus Board Block Diagram

Block Diagram - Microchip Technology BM70 Bluetooth® PICtail™/PICtail Plus Board
Published: 2018-10-08 | Updated: 2022-12-01