iC-Haus iC-TW29 26-Bit Encoder Processor
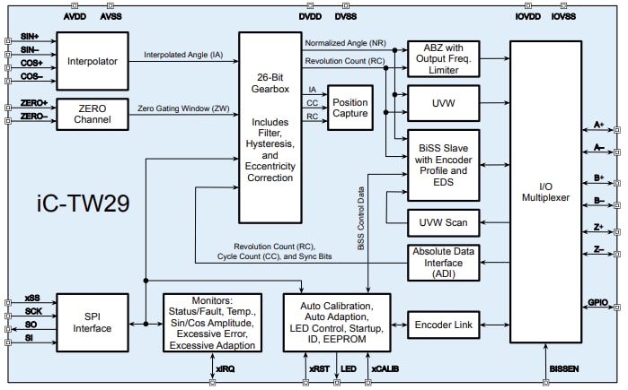
iC-Haus iC-TW29 26-Bit Encoder Processor is a complete solution for arbitrary resolution ST and MT encoders. This encoder processor is integrated with an interpolator and a BiSS interface. The iC-TW29 accepts differential sine/cosine input signals ranging from 20mV to 2V directly from magnetic or optical sensors. This encoder processor is configured through SPI and the bi-directional BiSS or encoder link interfaces if configured accordingly. The iC-TW29 encoder processor provides UVW commutation output modes for 1 to 32 pole-pair motors as well as BiSS and SPI interfaces. This encoder processor requires minimal external components for operation and features an input frequency of up to 700kHz. Typical applications include rotary and linear incremental or absolute encoders, magnetic or optical sin/cos sensor interfaces, and brushless motor commutation (2 to 64 poles).
Features
- Any output resolution with any input resolution
- Independently-programmed ABZ, UVW, and BiSS resolutions
- Absolute data interface for external revolution counters
- BiSS C-mode interface (encoder profiles 3, 3S, and 4)
- 26-bit single-turn position and 32-bit revolution count via SPI
- Four capture registers for coded reference marks and touch-probe applications
- Eccentricity compensation
- Up to 700kHz input frequency
- AB output frequency of up to 12.5MHz
- Differential RS422 line driver outputs for ABZ or UVW
- Simultaneous single-ended outputs for ABZ, UVW, and BiSS
- Automatic compensation of amplitude, offset, and phase errors
- Digital filtering for ultra-low output jitter
- Encoder link interface for in-field re-configuration
- Internal EEPROM and oscillator
- LED intensity control by PWM output
- Low latency (2.4µs or 5µs)
- Pin-compatible with iC-TW28
Applications
- Rotary and linear incremental or absolute encoders
- Magnetic or optical sin/cos sensor interface
- Brushless motor commutation (2 to 64 poles)
- Embedded motion control
Specifications
- -0.3V to 4.1V voltage range at DVDD, AVDD, and IOVDD
- -0.3V to AVDD + 0.3V pin voltage range
- -2mA to 2mA input current range
- 40k/W thermal resistance chip to ambient
- -40°C to 125°C operating temperature range
Block Diagram
Dimension Diagram
