BIVAR SZSF LED Light Pipes
BIVAR SZSF LED Light Pipes are a small footprint, flexible light pipe system with compact, high-density PCB designs. These pipes incorporate ZeroLightBleed™ technology with improved board mounting and light pipe adapter retention to ensure optimal light transmission and efficiency. The SZSF LED light pipes provide easy one-piece sourcing and are ideal for space-saving solutions. These pipes are available in IP54-rated configurations for added protection.
Features
- Compact and high-density PCB designs
- ZeroLightBleed™ technology
- IP54-rated
Additional Reosurce
Videos
Overview
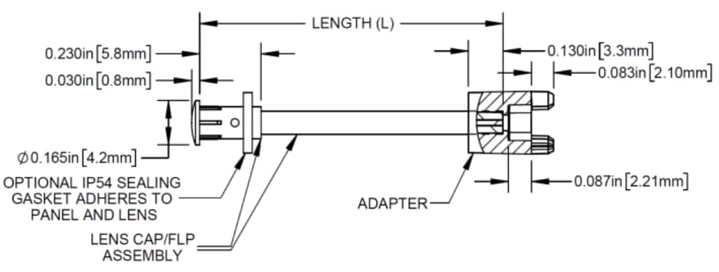
Mechanical Diagram
Published: 2025-08-01
| Updated: 2025-12-09
