Analog Devices Inc. ADG2412 Switch IC
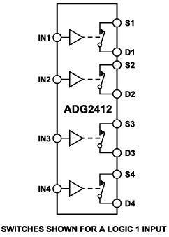
Analog Devices Inc. ADG2412 Switch IC consists of four independent Single-Pole/Single-Throw (SPST) switches. This IC also includes N-channel Diffused Metal-oxide Semiconductor (NDMOS) switches, which allows for an excellent RON performance. The switch IC turns on with logic one on the digital control inputs. Each switch conducts equally well in both directions when on and contains an input signal range extending from VSS to VDD − 2V analog signal range. The ADG2412 IC features up to 847mA high continuous current, 0.003Ω flat RON across the signal range, and 1.8V, 3.3V, and 5V logic compatibility. Typical applications include data acquisition, instrumentation, avionics, communication systems, relay replacement, automatic test equipment, and audio and video switching.Features
- Up to 847mA high continuous current
- 0.003Ω flat RON across signal range
- –122dB Total Harmonic Distortion (THD) at 1kHz
- Improved balance between on resistance and on capacitance:
- Low RON (0.5Ω) and CON (28pF)
- 1.8V, 3.3V, and 5V logic compatibility
- 16-lead, 4mm x 4mm LFCSP
- Pin to pin compatible with the ADG1412
- Fully specified at ±15V, +12V, ±5V, +5V, and –12V
- Operational with asymmetric power supplies
- VSS to VDD – 2V analog signal range
- −40°C to 125°C operating temperature range
Applications
- Automatic test equipment
- Data acquisition
- Instrumentation
- Avionics
- Audio and video switching
- Communication systems
- Relay replacement
Functional Block Diagram
Dimension Diagram
Published: 2023-02-14
| Updated: 2023-04-03
