Amphenol Advanced Sensors NovaSensor FMA Filtration Air Restriction Sensors

Amphenol Advanced Sensors NovaSensor FMA Filtration Air Restriction (FAR) Sensors accurately measure pressure loss across a variety of air filtration devices. These sensors use high-accuracy NPA piezoresistive technology in a low-profile form factor that is easy to install and maintenance-free. Amphenol Advanced Sensors NovaSensor FMA FAR sensors offer multiple positive or vacuum pressure ranges and mate with an integrated AMPSEAL 16 (three-way) electrical connector and 1/8-27 NPT female pressure connection port.

Features

  • 5VDC supply voltage
  • 0.5V to 4.5V (ratiometric) linear output
  • Diagnostic features
    • Bridge connection checks
    • Bridge short detection
    • Power loss detection
  • Temperature compensated
  • Sealed AMP electrical connector
  • Multiple pressure ranges available (vacuum and pressure)
  • Fast response time
  • REACH and RoHS compliant

Applications

  • Engine air filtration systems
  • Cabin pressure
  • HVAC pressure
  • Exhaust pressure
  • Industrial filters

Specifications

  • ±2.5% FSO accuracy
  • 0.12% FSO resolution
  • Compensated temperature range
    • 0°C to 80°C
    • 0°C to 60°C for 5" H2O
  • 2x full pressure proof pressure
  • 3x full pressure burst pressure
  • IP66 ingress protection
  • -40°C to +125°C operating temperature range
  • Less than 10ms response time
  • Pressure ranges
    • 5" H2O
    • 40" H2O

Application Example

Amphenol Advanced Sensors NovaSensor FMA Filtration Air Restriction Sensors

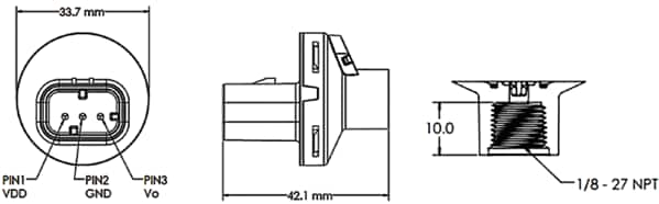
Connector Pin Out & Port Thread

Amphenol Advanced Sensors NovaSensor FMA Filtration Air Restriction Sensors

Transfer Function

Amphenol Advanced Sensors NovaSensor FMA Filtration Air Restriction Sensors

Videos

View Results ( 2 ) Page
Part Number Description Operating Pressure
FMA-500-T1-05W-GV Pressure Sensors - Industrial 5 in H2O 1.25kPa Vacuum Gage 1.25 kPa
FMA-500-T1-40W-GV Pressure Sensors - Industrial 40 in H2O 10kPa Vacuum Gage 10 kPa
Published: 2018-10-15 | Updated: 2022-07-27